KDG Industrial

es

  • enEnglish
  • esEspañol
Categorías
  • PRODUCTOS
    • Elementos de Resistencias
      • Resistencias de cartucho
      • Resistencias de bobina
      • Resistencias tubulares flexibles
      • Resistencias de banda de mica
      • Termopares
      • HOTLOCK & AXIAL
    • Componentes para Molde
      • Pernos
      • Contadores de Ciclos
      • Resortes de Carga
      • Extractores de Fricción
      • Válvulas de Aire
      • Insertos Fechadores
      • Anillos Localizadores
    • Soluciones de Elevación
      • Actek
      • CodiPro
    • Sujeción de Moldes
      • GRAPAS PARA MOLDE
      • GRAPAS MAQUINADAS
    • Pulido de Moldes y Matrices
      • Piedras de Pulido
      • Compuesto de Diamante
      • Pastas
      • Herramientas de Mano
      • Puntas de Carburo
      • Máquinas para Pulir
    • Compuestos de purga
      • QuickShots
      • Tradicional
    • Control de temperatura
      • Unidades Centrales
      • Sistema de Control Vulkaan
      • Unidades de Control
      • Refacciones, Cables de Alimentación y Termopar
    • Limpiadores y mantenimiento
      • Aquanol
      • Nanoplas
      • DAC industries
  • KDG - ESPECIALES
    • Sistemas de lubricación
      • Sistemas de lubricación automática
      • Accesorios de lubricación
    • Sistemas de Aislamiento
      • Univest
      • DroolShield
      • DROOLSHIELD HUB
      • Placa de Insulación
    • Bandas Transportadoras
    • Sistemas de Colada Caliente
    • Componentes Personalizados
  • SERVICIOS
  • HOJAS DE SEGURIDAD
    • Actek
    • Aquanol
    • Codipro
    • DAC Industries
    • Nanoplas
    • Univest
    • ID Additives
  • EMPRESA
  • CONTACTO

Newsletter

> PRODUCTOS > Sujeción del Molde > LENZKES >BRIDAS

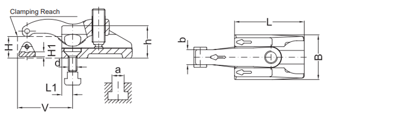
MultiQuick 60 Series 8

MultiQuick 60 Series 8

Solicita una Cotización
  • Descripción

MultiQuick 60 Series 8

MultiQuick 60 Series 8

SOLICITA UNA COTIZACIÓN

Categorías

  • PRODUCTOS
  • NUEVOS PRODUCTOS
  • PROVEEDORES
KDG - Catalogo

Información

  • Novedades
  • Contacte con nosotros
  • Ver en mapa

Contacte con nosotros

  • KDG Industrial
  • 1031 Bay Blvd, Suite F Chula Vista,
    CA 91911
  • Tel: (619) 418-9667
  • Email: sales@kdgind.com